8010L
ELECTRIC LOCKING SYSTEMS
FOR GROUPS OF SLIDING CELL DOORS. Maximum security.
Click Here for
Quote Request
Please Click on Captions below to display / hide information:
FUNCTIONS
ELECTRIC -
Individual switches located on a remote control panel actuate a pneumatic cylinder
housed in the horizontal cover box over each door, raising the vertical lock bar
and unlocking the door. Upon unlocking, the door springs open a few inches. All
door movement is by hand at the door, which automatically snap/deadlocks when
moved to the fully closed or fully open position. Individual lamp indicators on
the control panel show locked/unlocked condition. A single switch can provide
group unlocking.
MECHANICAL - In the absence of pneumatic or electrical power,
doors may be individually unlocked with a manual release tool. Door movement is
by hand and door will relock in either fully open or closed position.
EMERGENCY GANG RELEASE - In an emergency, all doors in a cell
line may be simultaneously unlocked from a remote location using a pneumatic release
system. While in emergency release mode, doors will not relock in any position.
STANDARD
FEATURES
- Bottom door guide
- Door hanger
- Pneumatic emergency release
- Screwed on removeable cover panel
- Sloped-front cover box
- Vertical lock bar assembly
OPTIONAL
FEATURES
PILASTER RELEASE
- (In lieu of pneumatic release system.) Hip-high paracentric keyed mechanical
release mounted in a full-height pilaster adjacent to the receiving jamb.
Specify “8010LP-1” keyed one side.
ELECTRIC KEYSWITCH - Paracentric or mogul keyed local electric
control switch mounted below mechanical release mechanism in pilaster.
Specify “8010LPK-1” for pracentric keyed one side. Specify “8010LPKM-1”
for mogul keyed one side.
HINGED COVER PANELS - Cover panels are provided hinged to the
cover box assembly for maintenance access. Specify “8010LHC.”
NO LOCK OPEN - Specify “NLO.” Door does not lock
in open position.
REMOTE PANEL LOCKS SYSTEM - Specify “80101LRP.”
FACTORY-WIRED CONTROL CABLE - Specify “8010LWC.”
DIMENSIONAL
DATA 1

DIMENSIONAL
DATA 2

DIMENSIONAL
DATA 3

DIMENSIONAL
DATA 4

DIMENSIONAL
DATA 5

SPECIFICATIONS
- COVER BOX: 1' 0-3/4" H x 7-1/2"
D
- COVER BOX MATERIAL: 7 gauge steel plate
- REMOVABLE PANEL: 10
gauge steel
- DOOR ROLLERS: 3"
diameter, machined steel with sealed bearings.
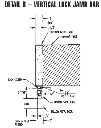
- VERTICAL LOCK BAR DIMENSIONS:
5/8" SQ by full height of door.
- FINISH: Prime paint
- DOOR HANGER: 7 gauge steel plate
- ELECTRICAL: 24 VDC
- WIRE REQUIREMENTS: Minimum five 24 volt conductors
are required between the control point and the door, except for those models having
the letter “K” (keyswitch) in the suffix. Keyswitch models require
minimum six conductors.
- AIR REQUIREMENTS: Air consumption 1.9 cubic
inches per unlock operation at 80 PSIG.
|